- 電磁流量計流量點進行檢測...
- 渦街流量計參數設置
- 渦輪流量計原理分類
- 渦街流量計尺寸的檢定
- 渦輪流量計設計理念
- 電磁流量計安裝位置的選擇...
- 電磁流量計檢測原理
- 渦輪流量計參數單位
- 渦街流量計工作原理
- 電磁流量計松緊程度
電 話:022-23284808 23284479
022-23280164 27224317
022-23282022 23282481
傳 真:022-23258505
地 址:天津市河西區桃園村大街1號、4號
FA24系列玻璃轉子流量計

FA24系列玻璃轉子流量計
產品特點:
|
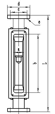
通徑(mm) |
窗口尺寸 (a×b) |
L |
C |
d |
e |
重量 (kg) |
|
DN15 |
37×302 |
500 |
Φ65 |
Φ95 |
4-Φ14 |
6 |
|
DN25 |
52×294 |
500 |
Φ85 |
Φ115 |
4-Φ14 |
10 |
|
DN40 |
64×278 |
500 |
Φ110 |
Φ145 |
4-Φ14 |
13 |
|
DN50 |
94×266 |
500 |
Φ125 |
Φ160 |
4-Φ18 |
18 |
|
DN80 |
132×302 |
500 |
Φ150 |
Φ185 |
4-Φ18 |
32 |
型號規格與技術參數
|
通徑 (mm) |
型號 |
測量范圍 |
壓損 (Pa) |
最大 壓力(MPa) |
最高溫度 ℃ |
精度等級 |
||||||
|
水L/h (20℃) |
空氣m3/h(20℃1.013×105Pa) |
|||||||||||
|
DN15 |
FA24-15 FA24-15F |
10-100 16-160 25-250 40-400 63-630 |
0.3-3 0.5-5 0.8-8 |
1100 1200 2000 2500 |
1.0 |
120℃ |
1.5;2.5 |
|||||
|
|
FA24-25 FA24-25F |
63-630 100-1000 160-1600 |
2-20 3-30 |
2800 4000 5000 |
1.0 |
|||||||
|
DN40 |
FA24-40 FA24-40F |
250-2500 400-4000 |
8-80 |
4000 5000 |
0.9 |
|||||||
|
DN50 |
FA24-50 FA24-50F |
630-6300 1000-10000 |
20-200 |
6500 8500 |
0.7 |
|||||||
|
DN80 |
FA24-80 FA24-80F |
1600-16000 2500-25000 |
|
8000 9000 |
0.5 |
|||||||
|
|
浮子 |
基座 |
止檔 |
密封圈及墊片 |
導桿 |
|||||||
|
LZB-15、25、40、50、80 |
1Cr18Ni9Ti 不銹鋼 |
鑄鐵 |
氟塑料 |
耐高溫橡膠 |
1Cr18Ni9Ti 不銹鋼 |
|||||||
|
LZJ-15、25、40 、50F、80 |
外包氟塑料 |
鑄鐵內襯氟塑料 |
氟塑料 |
氟橡膠 |
|
|||||||
基座材料可供1Cr18Ni9Ti
- 上一個:G、R、F系列玻璃轉子流量計
- 下一個:G、R、F系列玻璃轉子流量計
-
2019-05-06LZB系列玻璃轉子流量計
-
2019-05-06G、R、F系列玻璃轉子流量計
-
2019-05-06G、R、F系列玻璃轉子流量計
-
2019-05-06玻璃轉子流量計典型產品
-
2012-02-16為了提高玻璃轉子流量計測量的準...
-
2011-12-30超聲波流量計傳感器裝在水流向下...








